Zofia Filipowska, FR410663A

Dispositif de Fixation pour Chapeaux de Dames.

Image credit: Filipowska, Z. (1909)

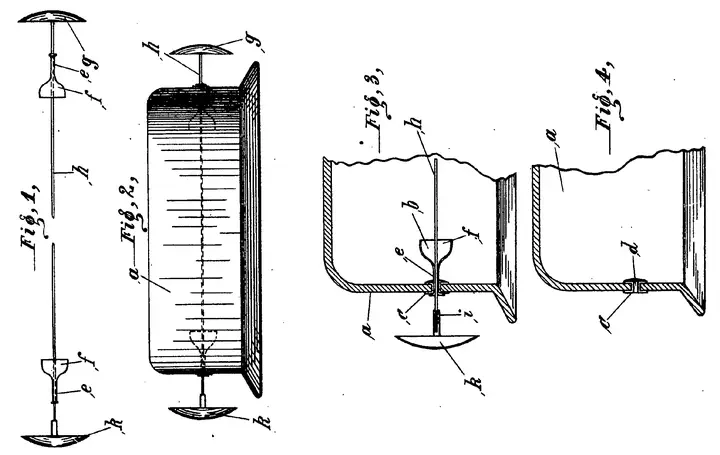
On May 26, 1910, Zofia Filipowska of Germany patented a hat fastening device for women’s hats. Her invention used eyelets with small funnel-shaped tubes to allow pins to secure the hat without damaging it, and a protective button at the pin’s end to prevent injuries.

Date of Application: 23 December 1909

Date of Issuance: 26 May 1910

For more information, please refer to the following webpage:

Francesca Chiaradia
Francesca Chiaradia
PhD Candidate in Economics

My research interests include innovation, law, and information economics.