Abele Waldemar, AT147396B

Spielzeug-Eisenbahn mit Elektrischem Antrieb.

Image credit: Waldemar, A. (1935)

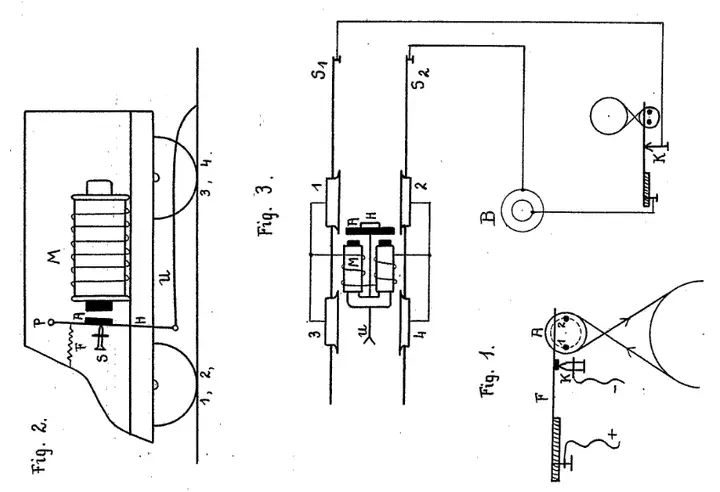
On October 26, 1936, Abele Waldemar of Baden, near Vienna, was granted a patent for a novel toy electric train. Unlike earlier designs powered by motors or dynamos, her version used a simple magnetic coil and a hook-shaped oscillating rod that propelled the train forward with each pulse of current.

Date of Application: 10 September 1935

Date of Issuance: 26 October 1936

For more information, please refer to the following webpage:

Francesca Chiaradia
Francesca Chiaradia
PhD Candidate in Economics

My research interests include innovation, law, and information economics.