Aida T. Beall, US2481561A

Garment Form.

Image credit: Beall, A.T. (1947)

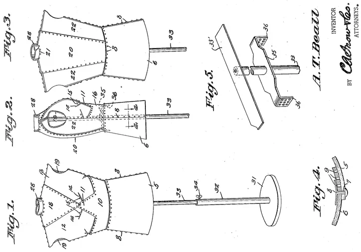
On September 13, 1949, Aida T. Beall of Baltimore, Maryland, received a patent for an adjustable garment form designed to help users fit or alter dresses at home. Made of multiple sections joined by removable fasteners, the form could be expanded, reduced, or fully disassembled for compact storage.

Date of Application: 9 May 1947

Date of Issuance: 13 September 1949

For more information, please refer to the following webpage:

Francesca Chiaradia
Francesca Chiaradia
PhD Candidate in Economics

My research interests include innovation, law, and information economics.