Aida J. Slate, US1736224A

Body Garment.

Image credit: Slate, A.J. (1928)

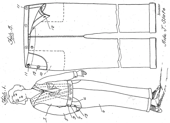
On November 19, 1929, Aida J. Slate of Sudan, Texas, patented a two-piece garment for motorists that could be quickly slipped over regular clothing and worn in different configurations. Featuring a blouse with adjustable flaps, trousers with hip fasteners, and suspenders, the design allowed the parts to be secured together or worn separately to keep garments clean during long trips.

Date of Application: 21 September 1928

Date of Issuance: 19 November 1929

For more information, please refer to the following webpage:

Francesca Chiaradia
Francesca Chiaradia
PhD Candidate in Economics

My research interests include innovation, law, and information economics.