Alberta Johnson, US2464580A

Animal Toilet Fixture.

Image credit: Johnson, A. (1945)

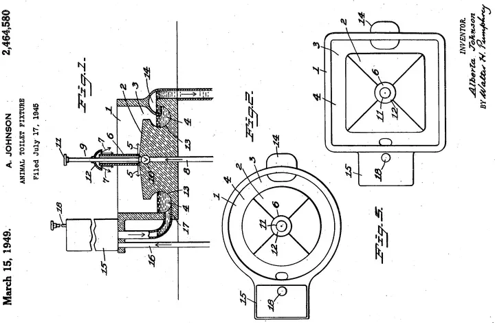
On March 15, 1949, Alberta Johnson of Old Westbury, New York, was granted a patent for an innovative animal toiletry facility. Her design featured a stationary fixture that allowed animals to mount a platform where their excreta could be flushed away, thereby improving the sanitary conditions of public lawns and parks.

Date of Application: 17 July 1945

Date of Issuance: 15 March 1949

For more information, please refer to the following webpage:

Francesca Chiaradia
Francesca Chiaradia
PhD Student in Economics

My research interests include law and economics, economics of innovation, and information economics.