Alice G. Salisbury Buxton, US2148012A

Boot and Shoe.

Image credit: Salisbury Buxton, A.G. (1937)

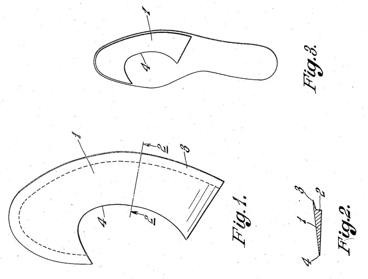
On February 21, 1939, Alice Gwendolen Salisbury Buxton of New York patented a redesigned shoe “lay” - a crescent-shaped wedge built into the front of a boot or shoe. By raising the outer border of the tread and tapering to a thin edge near the big-toe joint, her design improved balance and pressure distribution for more comfortable walking.

Date of Application: 25 January 1937

Date of Issuance: 21 February 1939

For more information, please refer to the following webpage:

Francesca Chiaradia
Francesca Chiaradia
PhD Candidate in Economics

My research interests include innovation, law, and information economics.