Amelia Maxson, US2513343A

Grip Presser Foot for Sewing Machines.

Image credit: Maxson, A. (1946)

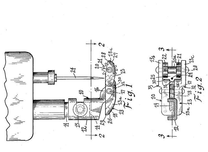
On July 7, 1950, Amelia Maxson of Jersey City received a patent for a presser foot designed to grip fabric evenly and prevent slippage during sewing. Equipped with pivoting joints and toothed wheels, her invention enabled smooth stitching even on heavy and slippery materials.

Date of Application: 15 March 1946

Date of Issuance: 4 July 1950

For more information, please refer to the following webpage:

Francesca Chiaradia
Francesca Chiaradia
PhD Candidate in Economics

My research interests include innovation, law, and information economics.