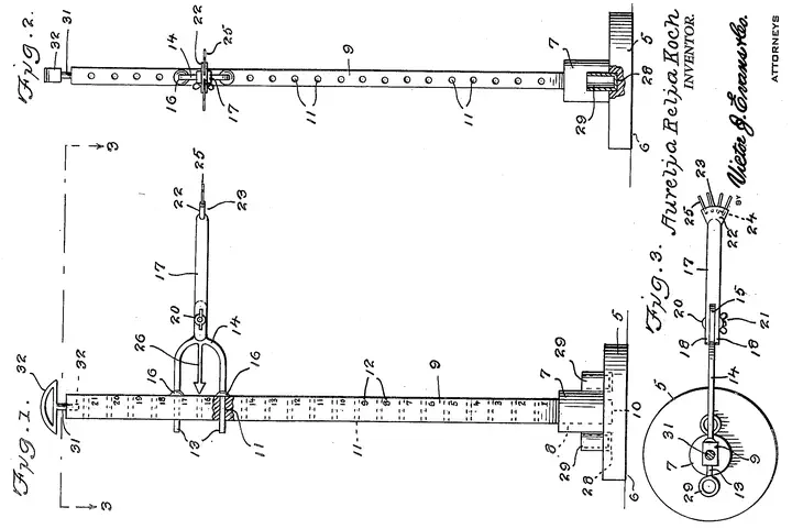
Aurelia R. Koch, US2535074A

Skirt Marker.

Image credit: Koch, A.R. (1948)

On December 26, 1950, Aurelia Relia Koch of West Hollywood, California, was granted a patent for a novel dress marker. Her design featured an adjustable marker with a scriber that could be conveniently folded away when not in use.

Date of Application: 2 March 1948

Date of Issuance: 26 December 1950

For more information, please refer to the following webpage:

Francesca Chiaradia
Francesca Chiaradia
PhD Student in Economics

My research interests include law and economics, economics of innovation, and information economics.