Ava J. Johnson, US2368595A

Process for the Separation of Acidic Gases from Fluids.

Image credit: Johnson, A. (1941)

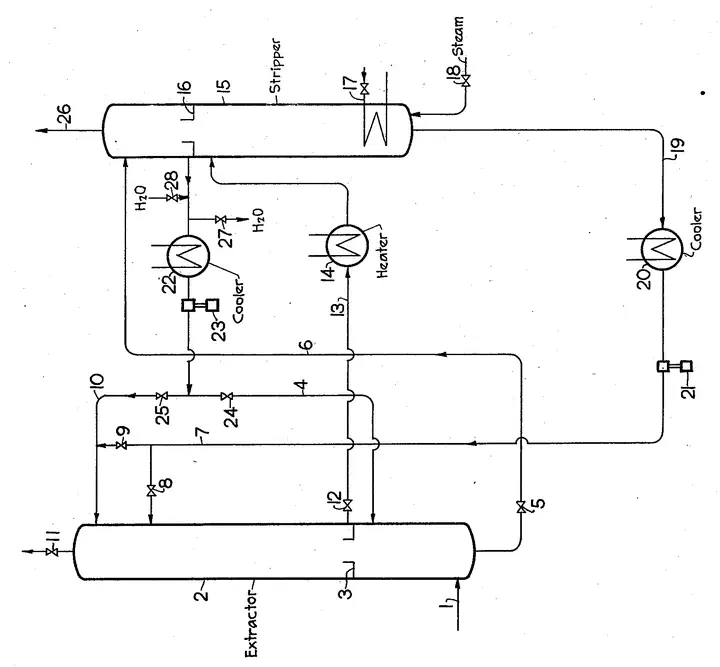
On January 30, 1945, Ava L. Johnson of Oakland, California, an assignor to Shell Development Company, patented an improved process for separating acidic gases from water-insoluble fluids. Her method used a high-pressure water wash followed by efficient alkaline scrubbing and steam regeneration, greatly boosting purification and reducing energy costs.

Date of Application: 29 August 1941

Date of Issuance: 30 January 1945

For more information, please refer to the following webpage:

Francesca Chiaradia
Francesca Chiaradia
PhD Candidate in Economics

My research interests include innovation, law, and information economics.