Betsy P. Skjerven, US2107346A

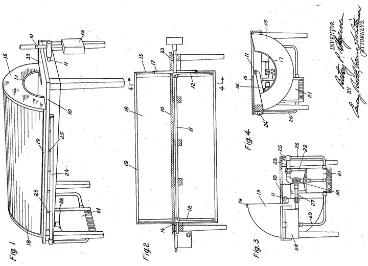
Steam Table.

Image credit: Skjerven, B.P. (1936)

On February 8, 1938, Betsy P. Skjerven of Brooklyn, New York, was awarded a patent for a massage table that could also be used to give steam or vapor baths. The table included a movable hood stored underneath that could be swung into place over the body, allowing treatments without moving the patient to another room.

Date of Application: 15 January 1936

Date of Issuance: 8 February 1938

For more information, please refer to the following webpage:

Francesca Chiaradia
Francesca Chiaradia
PhD Candidate in Economics

My research interests include innovation, law, and information economics.