Hana F. Ayoub, US1621051A

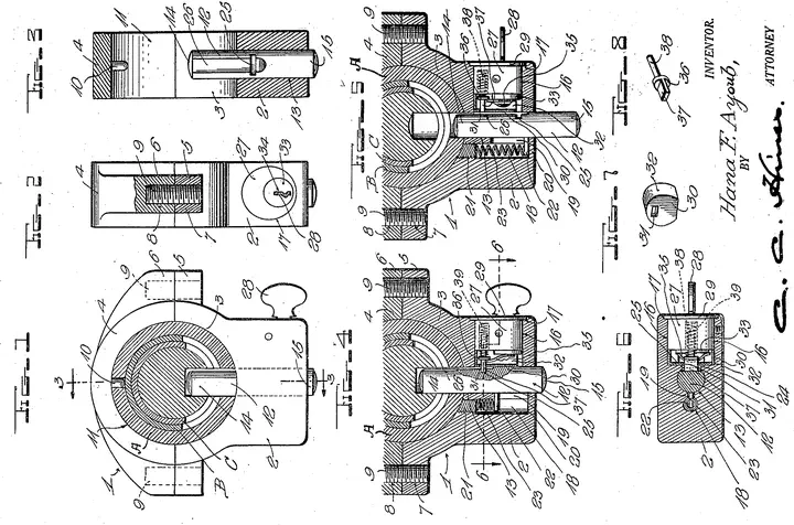
Steering Wheel Lock.

Image credit: Ayoub, H.F. (1926)

On March 15, 1927, Hana F. Ayoub of El Paso, Texas, patented a novel steering-wheel lock for automobiles and other vehicles. Her design used a clamp and spring-biased bolt mechanism that securely immobilized the steering gear, preventing unauthorized operation while remaining simple, durable, and tamper-resistant.

Date of Application: 11 January 1926

Date of Issuance: 15 March 1927

For more information, please refer to the following webpage:

Francesca Chiaradia
Francesca Chiaradia
PhD Candidate in Economics

My research interests include innovation, law, and information economics.