Haruko Saito, US1695983A

Method of Making Bobbed-Hair Holders.

Image credit: Saito, H. (1925)

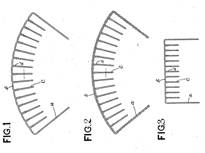
On December 18, 1928, Haruko Saito of Tokyo patented a wire comb made by bending and twisting metal into evenly spaced teeth. Shaped like a folding fan, the tempered steel comb was strong, elastic, and held bobbed hair securely in place.

Date of Application: 24 September 1925

Date of Issuance: 18 December 1928

For more information, please refer to the following webpage:

Francesca Chiaradia
Francesca Chiaradia
PhD Candidate in Economics

My research interests include innovation, law, and information economics.