Isabella M. Blackwood, GB189814944A

Improvements in Hand and Wrist Shields for Cyclists.

Image credit: Blackwood, I.M. (1898)

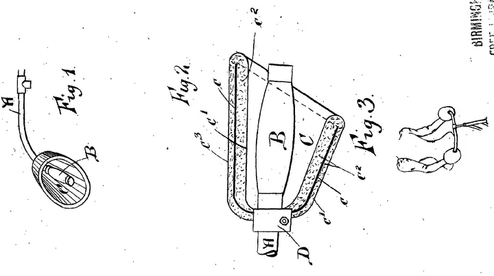
On November 12, 1898, Isabella Mary Blackwood was granted a patent for a novel device designed to protect the hands from the cold while cycling. Her invention featured a wire framework that could be easily attached to or removed from the handlebars, allowing the rider to insert their hands for warmth and protection.

Date of Application: 7 July 1898

Date of Issuance: 12 November 1898

For more information, please refer to the following webpage:

Francesca Chiaradia
Francesca Chiaradia
PhD Student in Economics

My research interests include law and economics, economics of innovation, and information economics.