Isabella Vogelsang, CH223170A

Engin de Sauvetage.

Image credit: Vogelsang, I. (1942)

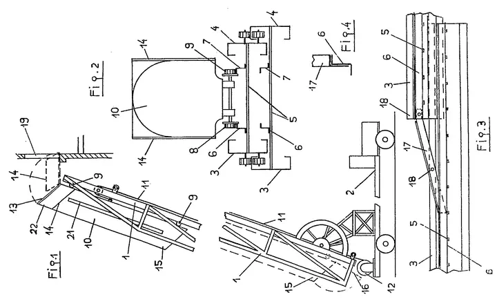
On August 31, 1942, Isabella Vogelsang of Lausanne was granted a patent for a rescue apparatus intended to evacuate people from burning buildings. Her design combined a firefighter’s ladder with a movable elevator cage that could travel up and down along the ladder rails.

Date of Application: 20 March 1942

Date of Issuance: 31 August 1942

For more information, please refer to the following webpage:

Francesca Chiaradia
Francesca Chiaradia
PhD Student in Economics

My research interests include law and economics, economics of innovation, and information economics.