Kaja P. Togstad, US1226414A

Spring-Tire.

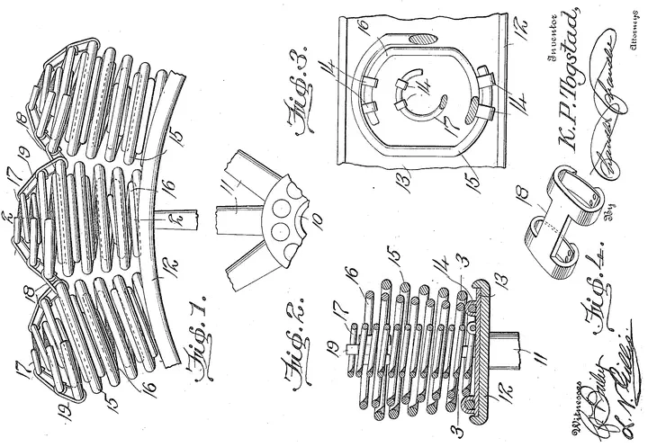
Image credit: Togstad, K.P. (1916)

On May 15, 1917, Kaja P. Togstad of Maddock, North Dakota, patented a spring-based tire made entirely of nested coil springs. The graduated springs provided shock absorption while also acting as anti-skid elements by gripping the ground as the wheel rolled.

Date of Application: 30 October 1916

Date of Issuance: 15 May 1917

For more information, please refer to the following webpage:

Francesca Chiaradia
Francesca Chiaradia
PhD Candidate in Economics

My research interests include innovation, law, and information economics.