Lillian C. Karr, US686974A

Railway Signaling Device.

Image credit: Karr, L.C. (1901)

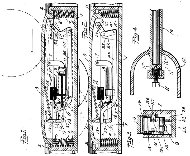
On November 19, 1901, Lillian C. Karr patented an innovative railway signaling device designed to activate an electric signal only when a train passed over it in a specific direction. Her mechanism used a depressible bar and a suction-controlled piston system to time the signal, while preventing activation when approached from the opposite direction.

Date of Application: 20 July 1901

Date of Issuance: 19 November 1901

For more information, please refer to the following webpage:

Francesca Chiaradia
Francesca Chiaradia
PhD Candidate in Economics

My research interests include innovation, law, and information economics.