Lillian Granville Walker, GB189808118A

Improvements in Corsets.

Image credit: Granville Walker, L. (1898)

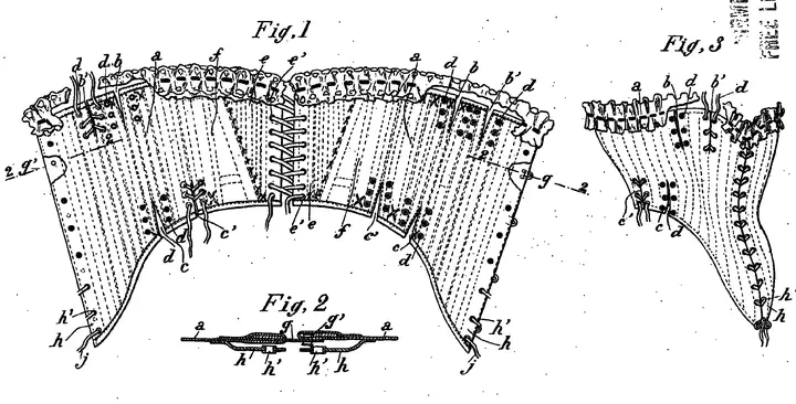
On June 11, 1898, Lillian Granville Walker, a gentlewoman of Boston, Massachussetts, patented an improved corset for athletic use, designed to fit smoothly under the bust, eliminate side wrinkles, and allow full freedom of movement. Her design featured flexible side panels and protective front flaps to shield outer garments from metal fastenings while enhancing bust support.

Date of Application: 5 April 1898

Date of Issuance: 11 June 1898

For more information, please refer to the following webpage:

Francesca Chiaradia
Francesca Chiaradia
PhD Candidate in Economics

My research interests include innovation, law, and information economics.