Lily Sidebotham, GB189614058A

An Improved Appliance for Keeping Dress Skirts in Position when Cycling.

Image credit: Sidebotham, L. (1896)

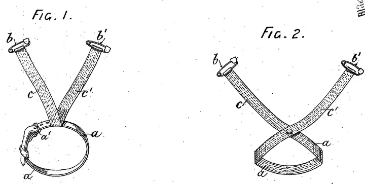
On January 16, 1897, Lily Sidebotham of Newport, Shropshire, was awarded a patent for a clip designed to keep a skirt securely in place while cycling. Her invention used a looped attachment of leather or canvas and two elastic cord tapes to bind the skirt to the foot, preventing it from catching in the bicycle.

Date of Application: 25 June 1896

Date of Issuance: 16 January 1897

For more information, please refer to the following webpage:

Francesca Chiaradia
Francesca Chiaradia
PhD Candidate in Economics

My research interests include innovation, law, and information economics.