Livia Juri, CH250647A

Recipiente per la Preparazione di Dolci.

Image credit: Juri, L. (1946)

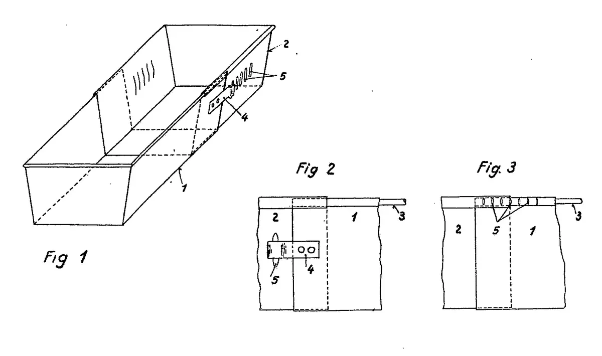
On September 15, 1947, Livia Juri of Lugano, Switzerland, received a patent for a novel container designed for preparing sweets. Her adjustable mold featured two interlocking sliding sections — secured by spring hooks or edge notches — allowing bakers to form desserts in multiple dimensions without needing multiple pans.

Date of Application: 28 August 1946

Date of Issuance: 15 September 1947

For more information, please refer to the following webpage:

Francesca Chiaradia
Francesca Chiaradia
PhD Candidate in Economics

My research interests include innovation, law, and information economics.