Ludmilla Puettner, AT138857B

Verschluß für Kleider, Wäschestücke u. dgl.

Image credit: Puettner, L. (1933)

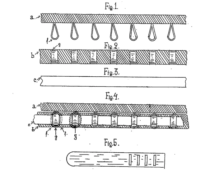
On October 10, 1934, Ludmilla Puettner of Vienna, Austria, patented a novel fastener made from two edging strips with matching loops. By laying one set of loops over the other and threading a ribbon through them in a braided path, the two strips are joined securely without the need for buttons or snaps, making garments easier to wash and iron.

Date of Application: 12 October 1933

Date of Issuance: 10 October 1934

For more information, please refer to the following webpage:

Francesca Chiaradia
Francesca Chiaradia
PhD Candidate in Economics

My research interests include innovation, law, and information economics.