Odette Portier, FR944532A

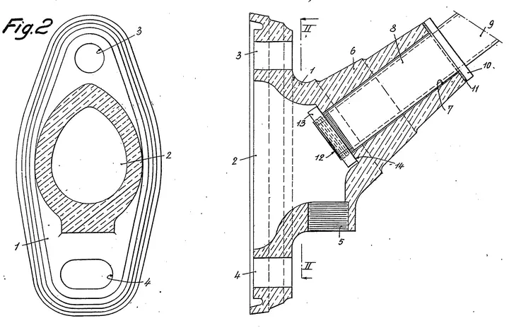
Support pour appareils d’éclairage, notamment pour appareils d’éclairage public.

Image credit: Portier, O. (1947)

On April 7, 1949, Odette Portier of Paris patented an improved support for lighting fixtures, especially for public lighting. Her design replaced the traditional threaded tube with a smooth tube secured in a matching smooth sleeve, preventing the frequent breakage that occurred at the joint.

Date of Application: 18 March 1947

Date of Issuance: 7 April 1949

For more information, please refer to the following webpage:

Francesca Chiaradia
Francesca Chiaradia
PhD Candidate in Economics

My research interests include innovation, law, and information economics.