Olivia W. Tucker, US1214847A

Lamp-Shade.

Image credit: Tucker, O.W. (1916)

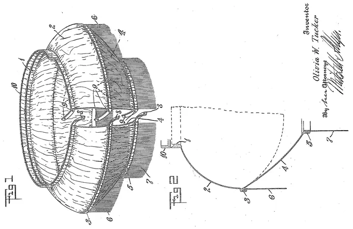
On February 6, 1917, Olivia W. Tucker of Brooklyn, New York, patented an adjustable ornamental fabric lamp shade. Designed with elastic and stay-filled bands, her shade could be fitted to fixtures of various sizes while maintaining a continuous, decorative appearance.

Date of Application: 16 September 1916

Date of Issuance: 6 February 1917

For more information, please refer to the following webpage:

Francesca Chiaradia
Francesca Chiaradia
PhD Candidate in Economics

My research interests include innovation, law, and information economics.