Phyllis E. Charles, US990206A

Foot-Warming Attachment for Electrothermal Garments.

Image credit: Charles, P.E. (1910)

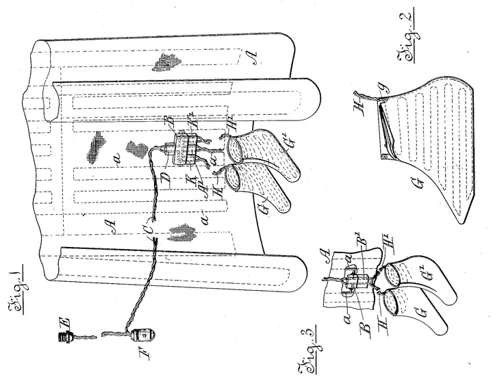
On April 18, 1911, Phyllis Emily Charles of Portland, Oregon, was awarded a patent for a novel foot-wrap for use with electrothermal garments. Unlike earlier fixed designs, her flexible, separable model allowed each foot to move freely and receive independent warming or therapeutic electrical treatment.

Date of Application: 12 October 1910

Date of Issuance: 18 April 1911

For more information, please refer to the following webpage:

Francesca Chiaradia
Francesca Chiaradia
PhD Candidate in Economics

My research interests include innovation, law, and information economics.