Slawa Duldig, AT140269B

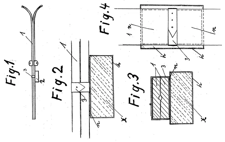
Polster zur Erleichterung des Tragens von Skien.

Image credit: Duldig, S. (1934)

On March 30, 1920, Slawa Duldig of Vienna, Austria, patented a padded device designed to make carrying skis on the shoulder more comfortable. Her invention used a waterproof rubber casing filled with soft sponge rubber to create a light, springy cushion, reinforced where it meets the skis and secured with an adjustable strap for easy attachment and removal.

Date of Application: 6 February 1934

Date of Issuance: 15 August 1934

For more information, please refer to the following webpage:

Francesca Chiaradia
Francesca Chiaradia
PhD Candidate in Economics

My research interests include innovation, law, and information economics.