Stefania Loversig, FR761683A

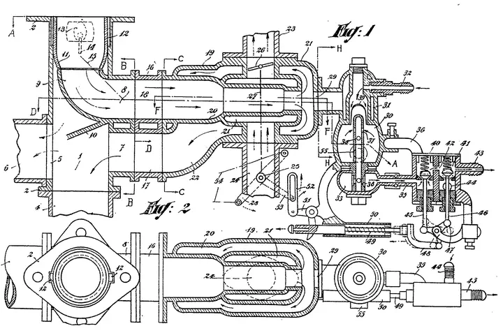
Gazéificateur pour Gas-Oil et autres Combustibles Lourds, Applicables aux Moteurs à Explosion.

Image credit: Loversig, S. (1933)

On March 24, 1934, Stefania Loversig of Argentina was awarded a patent for a novel fuel-gasifying system for internal-combustion engines. Her invention used exhaust heat to convert heavy fuels into gas and mechanically linked all valves to the accelerator pedal, allowing automatic switching between light and heavy fuels.

Date of Application: 29 September 1933

Date of Issuance: 24 March 1934

For more information, please refer to the following webpage:

Francesca Chiaradia
Francesca Chiaradia
PhD Candidate in Economics

My research interests include innovation, law, and information economics.