Home
CV
Featured
Research
Teaching
Patent Pills
Contact
Light
Dark
Automatic
US
Epifania Layana, US2292643A
On August 11, 1942, Epifania Layana of Los Angeles, California, patented an orthopedic arch brace designed to correct and support weakened foot muscles. Her non-stretch fabric brace fitted the foot like a glove and provided comfortable support to maintain proper bone alignment.
1 min read
US
Eudora M. Campbell, US782543A
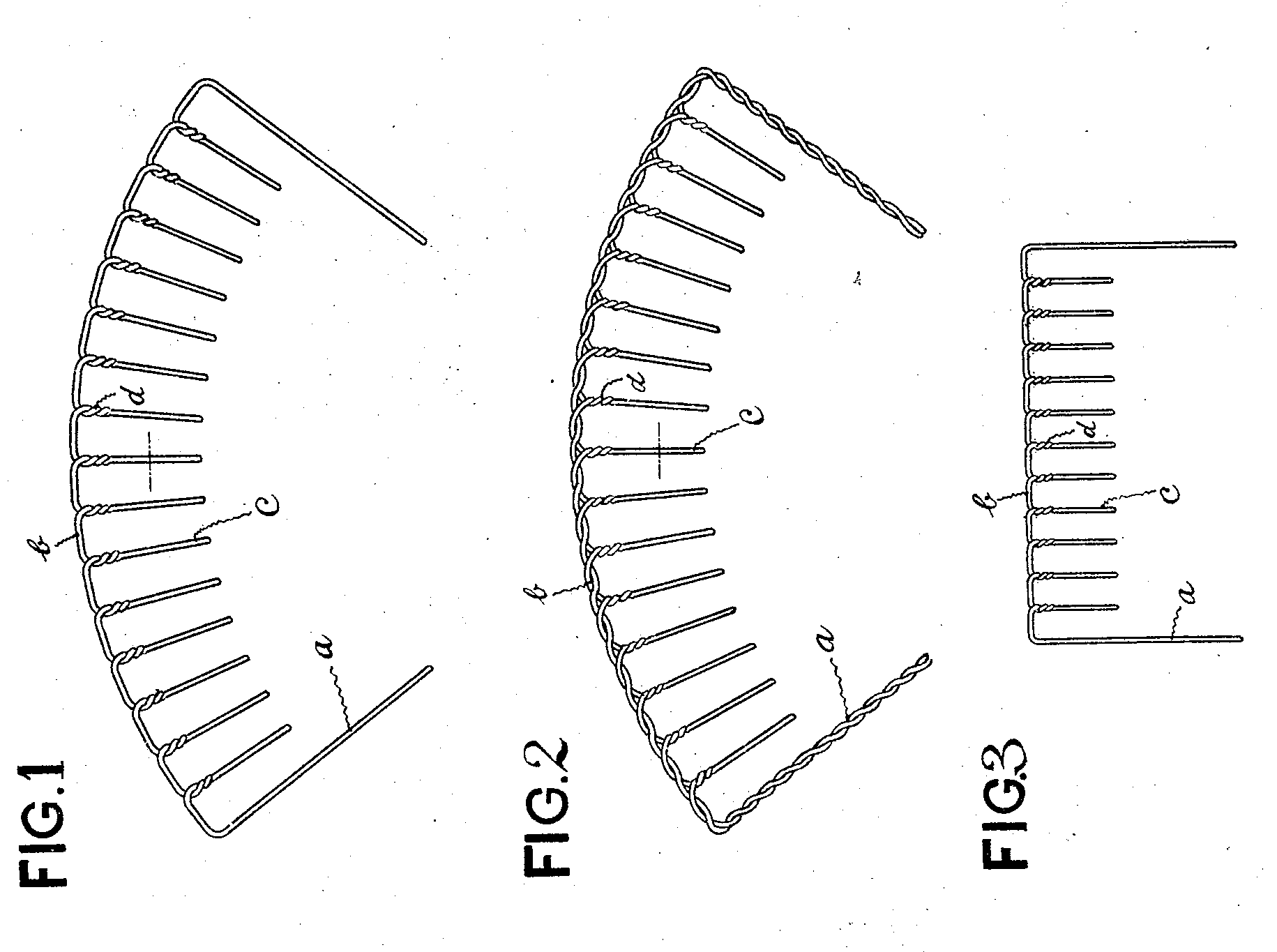
On November 28, 1922, Eudora M. Campbell of Wilkes-Barre, Pennsylvania, patented an innovative thread-holding and cutting device for sewing machines. Her design featured a presser bar, a supporting clip, a pair of clamping arms, and a cutting blade, all arranged to make thread cutting and severing more efficient.
1 min read
US
Francesca C. Shotwell, US1209051A
On December 19, 1916, Francesca C. Shotwell of Monroe, Louisiana, obtained a patent for a novel funnel that folded into a small metal container and popped open when released. Built with metal springs, a flexible cone, and removable strainer caps, it made filling radiators and fuel tanks cleaner and easier.
1 min read
US
Francesca Korn, US1619423A
On February 11, 1925, Francesca Korn of San Francisco, California, received a patent for an improved cake box designed to protect cakes during storage and transport. Its container, sliding cover, and removable tray made it easy to insert or remove a cake without damaging its sides while keeping it fresh.
1 min read
US
Francesca Van der Kley, US1663224A
On March 20, 1928, Francesca Van der Kley of New York patented a compact beauty case designed to fit neatly inside a desk or counter drawer. With removable bottoms, perforated walls, and multiple compartments, it allowed businesswomen to organize their toiletries and easily clean out spilled powder without disturbing the contents.
1 min read
US
Gette W. Holmes, US1504474A
On August 12, 1924, Gette Wright Holmes of Hosston, Louisiana, patented an innovative device designed to collect and destroy boll weevils from cotton fields. Her machine featured a pan containing a mixture of oil and water that instantly killed the pests as it removed them from the tops of the cotton plants.
1 min read
US
Gina C. Crompton, US937204A
On October 27, 1908, Gina C. Crompton of Park City, Utah, patented a novel presser foot for sewing machines. Her invention featured a simple, low-cost design that made it easier to sew lace, piping, and braid without taking the machine apart, and let users work on the table instead of under the machine arm.
1 min read
US
Gwendolen B.N. Egerton Hubbard, US1452340A
On April 17, 1923, English inventor Gwendolen Beatrice Nora Egerton Hubbard, then residing in Hollywood, California, obtained a patent for an educational toy made from just three simple shapes that could be combined to form any letter or numeral.
1 min read
US
Hana F. Ayoub, US1621051A
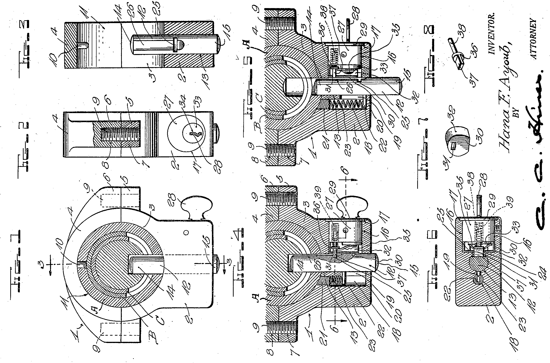
On March 15, 1927, Hana F. Ayoub of El Paso, Texas, patented a novel steering-wheel lock for automobiles and other vehicles. Her design used a clamp and spring-biased bolt mechanism that securely immobilized the steering gear, preventing unauthorized operation while remaining simple, durable, and tamper-resistant.
1 min read
US
Hanneh Branch, US267738A
On November 21, 1882, Hanneh Branch, a U.S. inventor based in North San Juan, California, was awarded a patent for creating a novel cough remedy. The compound was prepared by combining common tar, honey, egg yolks, licorice, and port wine.
1 min read
US
«
»
Cite
×