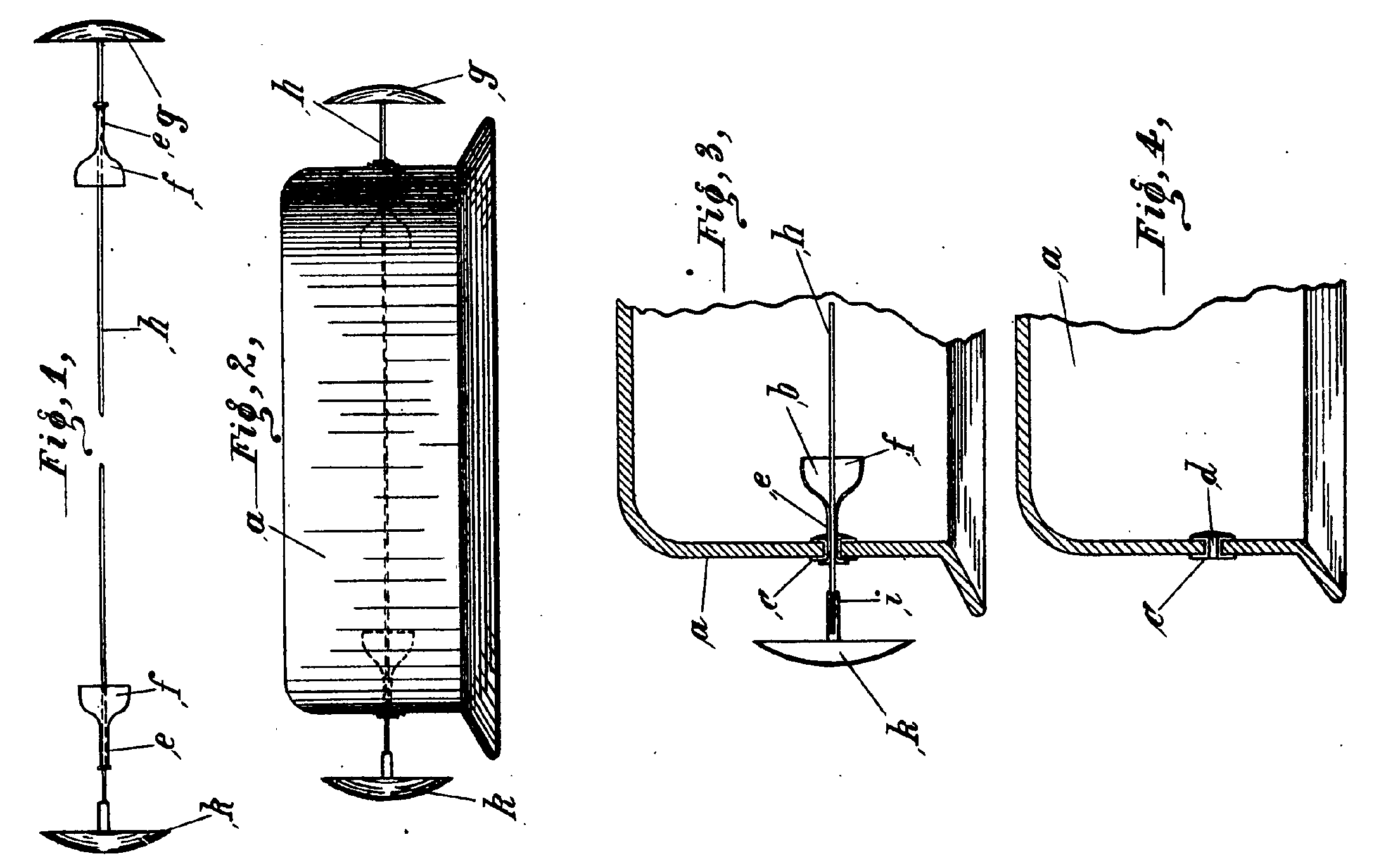
On September 4, 1902, Selina Jane Bancroft of Selukwe, Rhodesia, patented an innovative design for infants’ feeding bottles. Her invention featured a stable, easy-to-clean bottle with a wide mouth, a screw plug, and a natural-shaped rubber teat — making feeding safer, more hygienic, and closer to natural nursing.