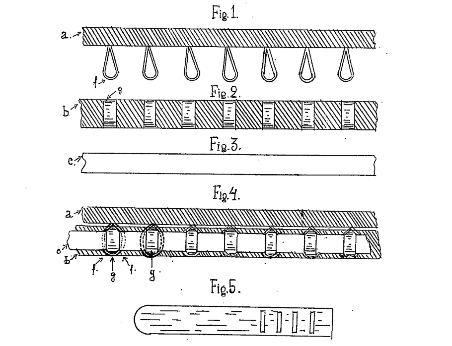
On October 10, 1934, Ludmilla Puettner of Vienna, Austria, patented a novel fastener made from two edging strips with matching loops. By laying one set of loops over the other and threading a ribbon through them in a braided path, the two strips are joined securely without the need for buttons or snaps, making garments easier to wash and iron.