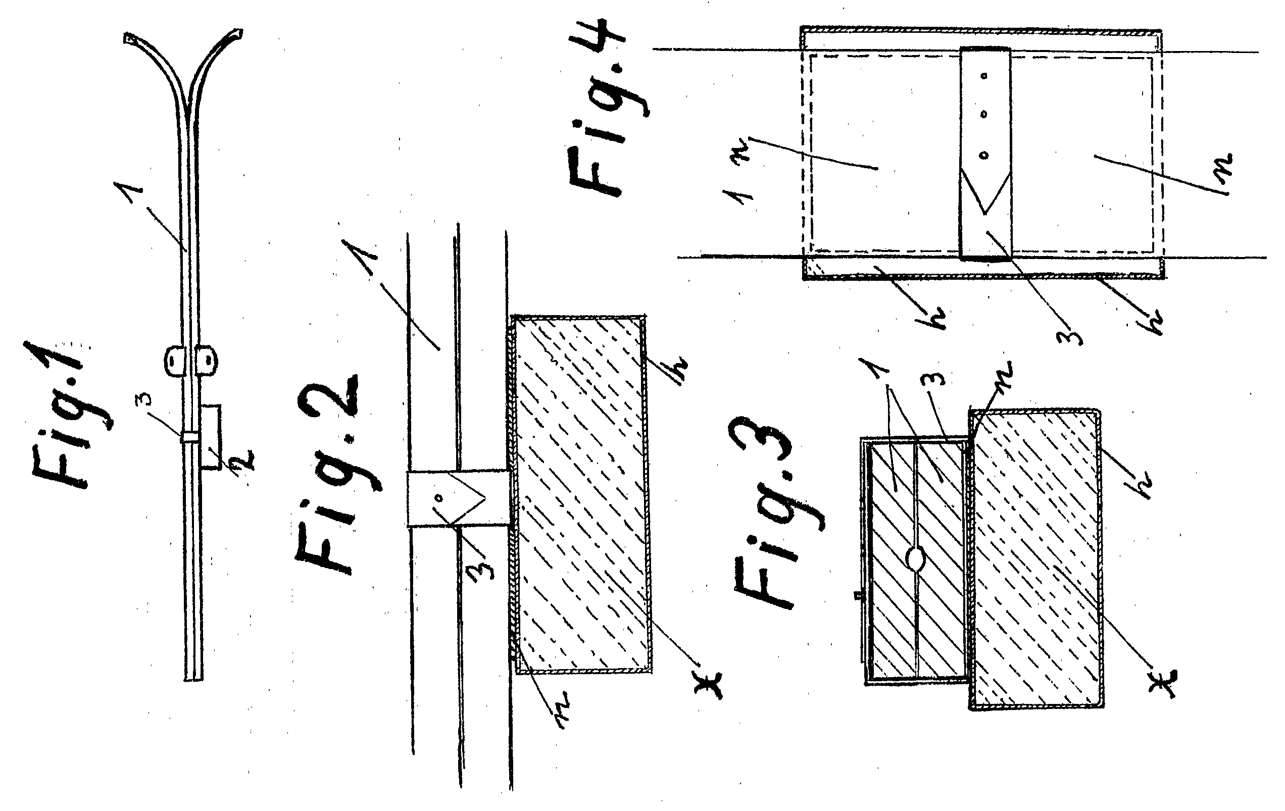
On March 30, 1920, Slawa Duldig of Vienna, Austria, patented a padded device designed to make carrying skis on the shoulder more comfortable. Her invention used a waterproof rubber casing filled with soft sponge rubber to create a light, springy cushion, reinforced where it meets the skis and secured with an adjustable strap for easy attachment and removal.